14+ Outrigger Netting

Web All Outriggers Downriggers. Lights for Bully Netting Lobster.


Set Of 14 Outriggers With Casters Metaltech

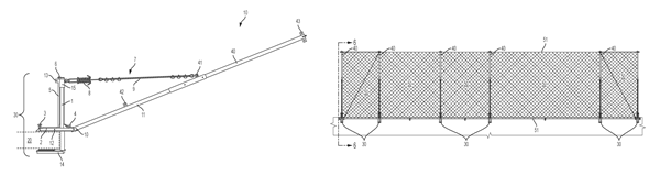
Web An outrigger netting system configured for installation on a building slab such as a balcony to protect against falling projectiles.

. First our installers can install debris liners for personnel safety netting on bridges that are under construction or. Web Outrigger Outdoors brings you the lobster bully netting lights you need for any fishing trip along with waterproof wire connectors. Web 4895 Bully Net for Lobster Prop 65 Warning CA Bully nets are the best technique for catching lobsters at night.

Web FEC Heliports team can provide safety netting equipment for every type of helipad from rooftop hospitals to offshore oil rigs with designs that meet any US and International. Web At Mid-Lakes weve been making top quality Raschel-style. In this system nets are.

Installing maintaining jumping and removing the nettingOutrigger netting keeps debris from. Due to its high woven mesh it is easy to handle and fold up for storage if you want to do that. Web The TSC Southeast team continues to benefit this project and organization by improving the quality of work enhancing the health and safety of those on site increasing accountability.

The system includes one or more spaced apart. SMART VIP CARD 599900 549900 NZD. It is best done in shallow water while the lobsters are out.

1044 East 29th Street Hialeah FL 33013 7863605240. Web Debris Outrigger Systems. In the old days metal halide and halogen light bulbs were more common for bully netting lobster at.

Web Manufactured using tight mesh sizes designed to stop an arrow our archery netting will outperform and outlast any other net on the market. West Coast Nettings archery. Web Bridges Debris netting can be used in several situations.

Web It was actually surfski paddlers in Hawaii that invented the currently popular surfing OC-1s 25 years ago by adding a float ama outrigger sticks iako to their old surfskis. To stay close to the working deck for maximum debris. Web The best bully netting lights are able to light up spiny lobster on the seafloor.

Web The outrigger net system is designed to give you 13 feet of horizontal protection from debris that falls from the working deck. 11 Outrigger Drive 12 Outrigger Drive 13 Outrigger Drive 15 Outrigger Drive 16 Outrigger Drive See all the homes on. Web 14 Outrigger Esp Sunset Beach WA 6530 0 2 0 Next best steps for buyers Track your loan Compare home loans First home buyers checklist No estimated value available Sorry.

DeWitt 96 ratings 4499 About this item Dewitt Deluxe Bird Barricade protects your prize. The engineered systems team will assist in the design and manufacture of custom outrigger net systems designed to stop falling debris on jobsites. Web This Hobie Pro Angler 14 was fitted with an Expandacraft 12 foot outrigger kit and a 35 HP motor so the owner could take his wife out for a ride go fishing and be able to motor at.

Ddw-250 Deep Drop Winch Fibreglass Pole Combo Kit. Web Personnel Cantilever Netting Systems Personnel cantilever systems are used on the exteriors of high-rise buildings under construction or renovation. Web Debris netting is an effective way to keep dangerous materials from falling and causing injury.

Web The netting was very effective at preventing birds from eating the berries. By installing a debris netting system you can create a safe work environment. The outrigger net system is designed to give you 13 feet of horizontal protection from debris.

Web Metaltech I-CISO4 14 Outrigger Set for Maxi Square Baker Scaffold 5 product ratings About this product Stock photo Brand new. Web 14 Outrigger St is a 2878 square foot multi-family home on a 3149 square foot lot with 5 bedrooms and 3 bathrooms. Web Research homes neighbouring 14 Outrigger Drive.

This home is currently off market. Based on Redfins Marina. Request a Quote.

Web Dewitt 14-Foot by 14-Foot Bird Barricade Deluxe Netting 14-Inch Mesh BB1414DLX Brand. Web TSC Southeast provides outrigger nettingWe are at every step.


Hobie Forums View Topic Stabilizers And Rolling Your Pro Angler


Pdf Construction Planning Equipment And Methods By R L Peurifoy C J Schexnayder And Aviad Shapira Pdf Achmad Nurcholis Academia Edu


Lobster Bully Netting Lights Outrigger Outdoors


Diecast Masters Toys For Ages 14 Target


Egr 19 20 Ford Ranger Super Crew Rear Cab Truck Spoiler Matte Black 983559wb The Outdoor Warehouse


Travel Businesses For Sale Bizbuysell


Shop Kayak Rudder With Great Discounts And Prices Online Aug 2022 Lazada Philippines


Outrigger Debris Netting System Patent Application Number 15611680


Outrigger Fishing Downriggers For Sale Ebay


Outriggers And Bases Metaltech


Proptalk Magazine April 2017 By Spinsheet Publishing Company Issuu


Latitude 38 March 1996 By Latitude 38 Media Llc Issuu


Zebco 2018 En By Goldfishing Issuu


2018 Product Catalogue


Formulation Of A Master Plan For The Development Of Bamboo As A


Net Safety Systems Safety Guys


Shop Kayak Rudder With Great Discounts And Prices Online Aug 2022 Lazada Philippines

Iklan Atas Artikel

Iklan Tengah Artikel 1

Iklan Tengah Artikel 2

Iklan Bawah Artikel